Product Line
  
RF Product Type
Cable Assembly
1.6 /5.6
7/16
Adapter - Kit
Adapter
BNC
F
FME (Antenna)
MCX
MMCX
Mini - UHF
N
R/P Adapter
R/P BNC
R/P N
R/P SMA
R/P TNC
SMA
SMB
SMC
SSMB
STP
TNC
UHF
Application
RF Antenna
WLAN
Mobil Communication
Communication Satellites Stations
Defense Industry
Brand
Arthur-yang
A to Z
 
 

BNC Straight Female Clamp-on Type

 

ZOOM

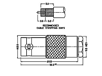
Name :BNC Straight Female Clamp-on Type
Item No. : 2308-A1-N1DG1
2308-F1-N1DG1

 Feature : 
             A
1:RG-58/U,141/U                       
             F1:RG-59/U,62A/U,210/U
            
N1:Brass Body With Nickel Plating
               D:Delrin Insulation
             G1:Brass Pin With Gold Plating
             

Add to Inquiry Cart

BNC Stright Female Clamp-on Type

圖片


INSTRUCTIONS FOR CABLE ASSEMBLY – CLAMP/SOLDER 

STEP 1. Shown are diff. parts of the connector.

STEP 2. First, strip the inner conductor, dielectric, and jacket. Be Sure to remove all Burrs and break

             sharp edges in stripping the Cable Dims.

STEP 3. Insert inner conductor into the Contact Pin and solder it as shown. Then slide the Hex Nut,

             Washer, and Gasket onto the Cable one by one.

STEP 4. Place the Top Hat over braid and push back against cable jacket fold back braid
             wire as 
shown.

STEP 5. Insert cable and parts into the main body, then screw the Hex Nut until it is tightened.